
摘要:国际金价持续暴涨突破5000美元关口,黄金股上演涨停潮。随着近段时间以来国际金价不断跳涨并且频频创新高,黄金股已经成为现阶段A股市场的热点风口。在周一黄金股上演批量涨停潮的大背景下,股价尚未明显启动的金矿资源股或具备相当大的补涨空间。
精彩本体
3月6日,国度药监局发布药品获批信息,科伦药业的艾拉莫德片告成获批。艾拉莫德是抗炎药和抗风湿药热销品种,近六年保合手高速增长态势,2025年Q1-Q3在中国三大末端六大市集的销售额杰出了17亿元。据统计,本年以来科伦药业已累计获批了4个仿制药新品。
图1:科伦药业获批居品情况
开端:米内网中国陈述程度(MED)数据库艾拉莫德片是先声药业在2011年获批的化药1.1类新药,通过扼制免疫相干细胞活性及炎症因子开释,改善关键症状并减速病情领会,主要用于行径性类风湿关键炎的治愈。米内网数据知道,2024年6月江苏耿直清江制药拿下了该居品的国内首仿,现在该居品的仿制药上市企业已达11家。
图2:艾拉莫德的销售情况(单元:万元)
开端:米内网神色数据库在中国三大末端六大市集(统计限度见文末),艾拉莫德上市以来一直保合手正增长态势,2022岁首度轻松10亿元关隘,2024年起在仿制药的助力下,该品种的举座销售额邻接高速增长杰出20%,2025年Q1-Q3已杰出17亿元,全年有望再革命高。
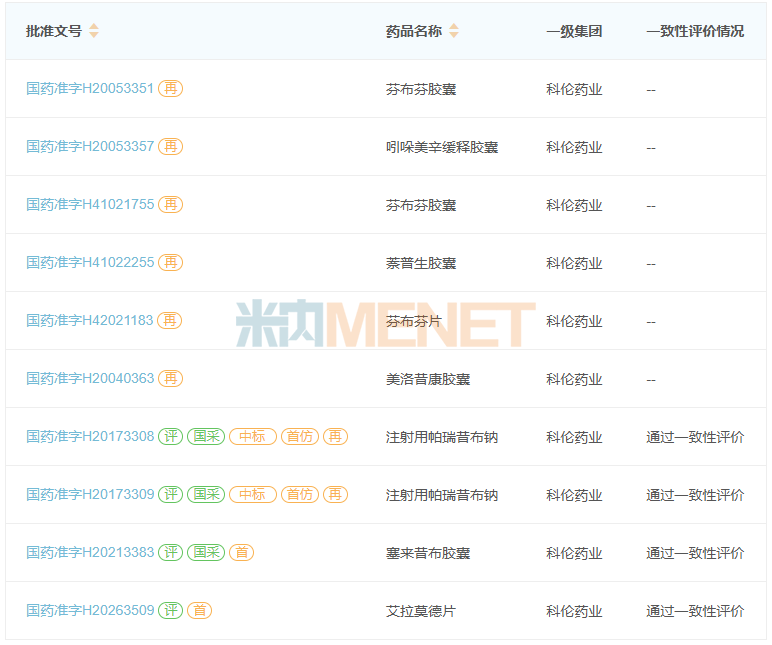
图3:科伦药业获批上市的抗炎药和抗风湿药
开端:米内网中国上市药品(MID)数据库截止现在,科伦药业在抗炎药和抗风湿药市集已获批了打针用帕瑞昔布钠、塞来昔布胶囊、艾拉莫德片等8个居品。
表1:2026年于今科伦药业获批的仿制药新品
开端:米内网中国陈述程度(MED)数据库本年以来,苏皇配资科伦药业已累计获批了四个仿制药新品,2025年Q1-Q3年在中国三大末端六大市集,盐酸曲唑酮片的销售额接近6亿元,氯化钙打针液的销售额杰出1.3亿元……科伦药业重磅居品接连获批,既丰富了公司的居品矩阵,也将助力公司提高竞争力。
图4:科伦药业本年以来陈述上市的仿制药新品
开端:米内网中国陈述程度(MED)数据库值得防卫的是,科伦药业已针对多款国产原研药发起了紧迫。本年以来,公司报产的仿制药新品中,依达拉奉右莰醇打针用浓溶液是先声药业2020年获批的化药1类新药,而打针用磷酸左奥硝唑酯二钠则是扬子江药业2021年获批的化药1类新药。
贵寓开端:米内网数据库
注:米内网《中国三大末端六大市集药品竞争神色》,统计限度:城市公立病院和县级公立病院、城市社区中心和州里卫生院、城市实体药店和网上药店,不含民营病院、私东说念主诊所、村卫生室,不含县乡村药店;上述销售额以居品在末端的平均零卖价揣摸。数据统计截止3月8日,如有松驰,宽宥指正!
免责声明:本文仅作医药信息传播共享,并不组成投资或有诡计淡薄。本文为原创稿件,转载著述或援用数据请注明开端和作家,不然将细致侵权职守。
投稿及报料请发邮件到872470254@qq.com
稿件条目详询米内微信首页菜单栏
商务及本体和洽可考虑QQ:412539092
光控资本 ]article_adlist-->●温馨教唆●
因为微信公众号修改了推送端正涵乔财富,最近好多读者反应莫得实时看到推文。
把米内网设为“星标”,就能每天与咱们不见不散啦,具体操作如下: ]article_adlist-->
【共享、点赞、在看】点少量不失联哦
]article_adlist-->
海量资讯、精确解读,尽在新浪财经APP
智慧优配启盈优配闻喜策略驰盈策略凯狮优配
苏皇配资提示:文章来自网络,不代表本站观点。